PP Non-Return Valves


PP Non-Return Valves
DATA SHEET FOR PP NON-RETURN VALVES
Dimensions For PVDF NRV
Dimensions For PVDF NRV
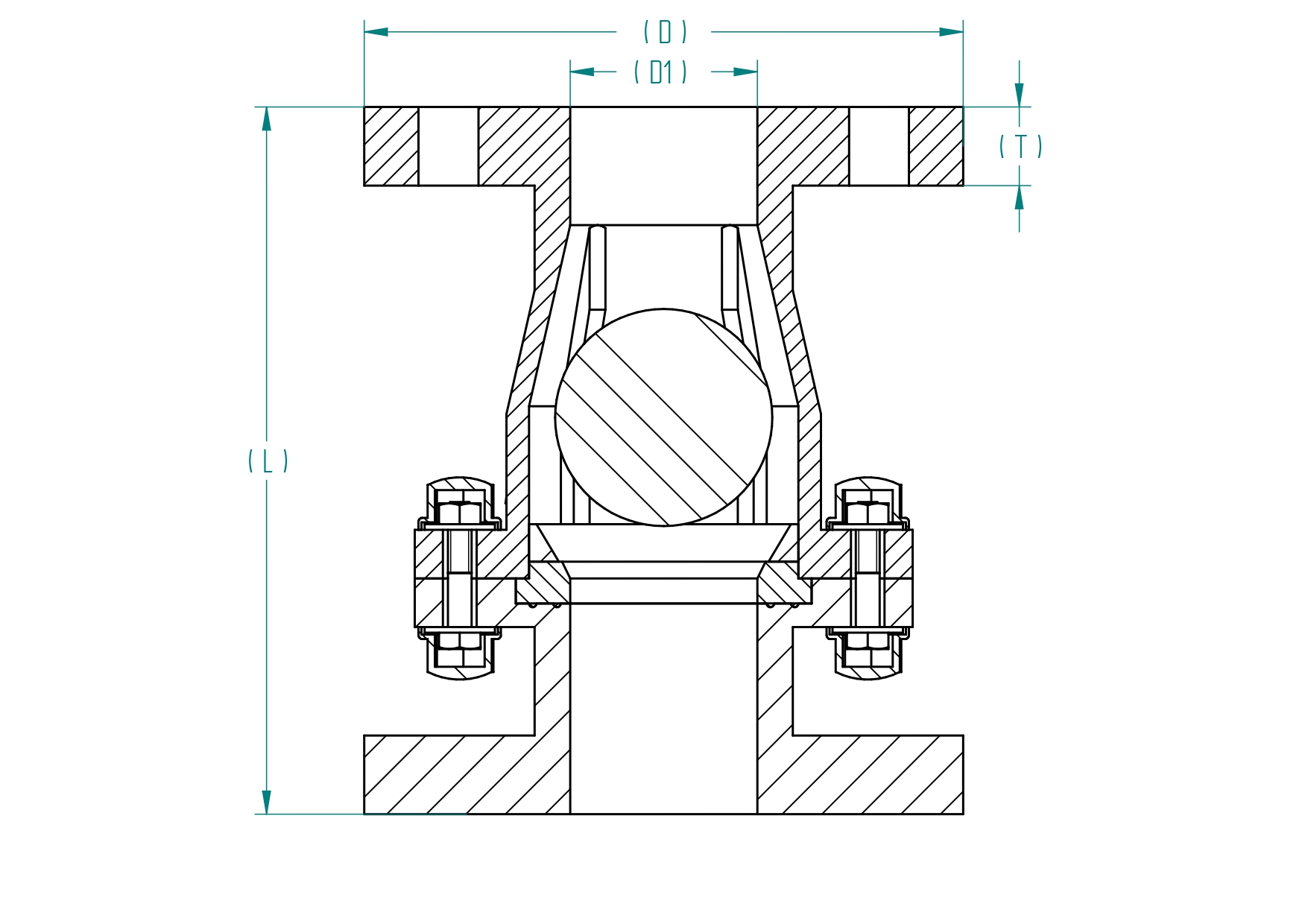
| Size | D | D1 | L | T | Flange | ||||||
|---|---|---|---|---|---|---|---|---|---|---|---|
| BS 10 Table ‘F’ | ASA #150 | ||||||||||
| NB | Inch | PCD | Dia of Hole | No. of Hole | PCD | Dia of Hole | No. of Hole | ||||
| 25NB | 1” | 118 | 25 | 170 | 19 | 87 | 14 | 4 | 79 | 14 | 4 |
| 40NB | 1½” | 136 | 40 | 186 | 20 | 105 | 15 | 4 | 98 | 15 | 4 |
| 50NB | 2” | 161 | 50 | 189 | 21 | 127 | 17 | 4 | 120 | 17 | 4 |
| 65NB | 2½” | 178 | 65 | 261 | 22 | 145 | 17 | 4 | 140 | 17 | 4 |
| 80NB | 3” | 195 | 75 | 261 | 22 | 165 | 17 | 8 | 152 | 17 | 8 |
| 100NB | 4” | 227 | 100 | 312 | 23 | 191 | 17 | 8 | 191 | 17 | 8 |
Material Specification
Features
Pressure Rating
Max Temperature Rating
Drilling Standards
Dimensions
Material Specification
| PART | MATERIAL | QUANTITY |
|---|---|---|
| Body | PVDF | 1 |
| Ball | PVDF | 1 |
| Side piece / connector | PVDF | 2 |
| Stem | SS-304 / SS-316 | 1 |
| Seat ring | Neoprene | 1 |
| Connector seal | Neoprene | 1 |
| Stud, Nut and Washer | MS Galvanized / SS-304 | Req. |
Features
- Free Floating Stem Type Ball.
- Suitable for Vertical and Horizontal application.
- Bolted design allows maximum pressure and Flow.
Pressure Rating
| PART | SIZE RANGE | PRESSURE RATING |
|---|---|---|
| BODY | 25NB TO 100NB | 10 KG/CM² (140 PSI) |
| SEAT | 25NB TO 100NB | 10 KG/CM² (140 PSI) |
Max Temperature Rating
- PPCP-Polypropylene Co-Polymer-800 C
Drilling Standards
- ASA #150
- F- Table
- Capsule Shape (Universal Drill)
Dimensions
| Size | D | D1 | L | T | L1 | PCD | |||||
|---|---|---|---|---|---|---|---|---|---|---|---|
| BS 10 Table ‘F’ | ASA #150 | ||||||||||
| PCD | Dia of Hole | No. of Hole | PCD | Dia of Hole | No. of Hole | ||||||
| 25NB | 1” | 121 | 25 | 21 | 155 | 87 | 14 | 4 | 79 | 14 | 4 |
| 40NB | 1 ½” | 139 | 40 | 21 | 165 | 105 | 15 | 4 | 98 | 15 | 4 |
| 50NB | 2” | 164 | 50 | 22 | 177 | 127 | 17 | 4 | 120 | 17 | 4 |
| 65NB | 2 ½” | 183 | 65 | 25 | 260 | 145 | 17 | 4 | 140 | 17 | 4 |
| 80NB | 3” | 199 | 80 | 28 | 265 | 165 | 17 | 8 | 152 | 17 | 4 |
| 100NB | 4” | 228 | 100 | 29 | 335 | 191 | 17 | 8 | 191 | 17 | 8 |